True-Tec PA06 Single Point Loadcell
OIML R60 • 3000e / 6000e
3 kg başlangıç kapasitesinde C3 / 3000e onaylı yapı. Ayrıca C6 / 6000e seviyesinde 5–35 kg aralığında yüksek çözünürlüklü kullanım sunar.
3–200 kg • 35×35 cm Platform
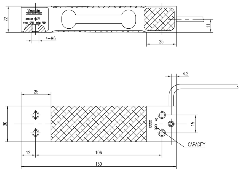
Kapasite seçenekleri: 3, 5, 7, 10, 15, 20, 30, 35, 50, 75, 100, 150, 200 kg. Maksimum platform boyutu 35 × 35 cm; sayıcı ve kompakt tartım sistemleri için idealdir.
IP66 + 150% / 300% Yük Dayanımı
IP66 koruma sınıfı ile toz ve güçlü su püskürtmelerine karşı dayanıklıdır. Sınır yük 150%, kırılma yükü 300%. Çalışma sıcaklığı -30 ~ +70°C.
| ÖZELLİKLER | BİRİM | DEĞER |
|---|---|---|
| True-Tec Derecesi | – | N, P, R, T, V |
| Anma Kapasitesi (Emax) | kg | 3*, 5, 7, 10, 15, 20, 30, 35, 50, 75, 100, 150, 200 |
| Hassasiyet (Sensitivity) | mV/V | 2,00 |
| Hassasiyet Toleransı | ± mV/V | 0,20 |
| Sıfır Dengesi (Zero Balance) | ± mV/V | 0,10 |
| Maks. Bölünme Sayısı | – | 2000 (N), 2500 (P), 3000 (R), 4000 (T), 6000 (V) |
| Y = Emax / vmin (Tipik) | – | 3600 (N), 6000 (P), 10000 (R), 10000 (T), 10000 (V) |
| Z = Emax / (2×DR) (Tipik) | – | 2000 (N), 2500 (P), 3000 (R), 4000 (T), 6000 (V) |
| Dış Merkez Yükleme Hatası | ± %/cm | 0,0074 (N), 0,0074 (P), 0,0049 (R), 0,0036 (T), 0,0024 (V) |
| Maksimum Platform Boyutu | cm | 35 × 35 |
| Anma Sıcaklık Aralığı | °C | −10 ~ +40 |
| Çalışma Sıcaklık Aralığı | °C | −30 ~ +70 |
| Sınır Yük (Limit Load) | % R.C. | 150 |
| Kırılma Yükü (Break Load) | % R.C. | 300 |
| Anma Beslemesi | V | 10 |
| Maks. Besleme (Max. Excitation) | V | 15 |
| Giriş Empedansı (Input Impedance) | Ω | 406 ± 15 |
| Çıkış Empedansı (Output Impedance) | Ω | 350 ± 3 |
| Yalıtım Direnci | MΩ | > 2000 |
| Kompanzasyon Devre Tipi | – | Dengeli Köprü (Balanced Bridge) |
| Kablo Uzunluğu | m | 0,40 |
| Kablo Tipi | – | 4×28 AWG, Alüminyum Mylar Folyo Korumalı, Siyah PVC Kılıflı |
| Renk Kodu | – | +exc = yeşil, +sig = kırmızı, −exc = siyah, −sig = beyaz |
| Gövde (Construction) | – | Anodize Alüminyum Alaşım |
| IEC529’a Göre Koruma Sınıfı | – | IP 66 |




